电磁铁:广东深圳亚欣圆管电磁铁:AO1632S-12C25 (2)
GUANGDONG SHENZHEN YAXIN ELECTUONICS TUBULAR SOLENOID
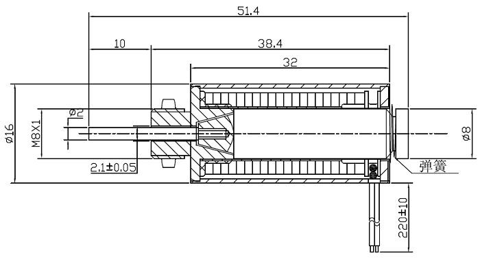
3.圆管电磁铁外形图(APPLEARANCE)
3-1 圆管电磁铁外形尺寸:参照附图。图号: AO1632S-12C25
(DIMENSION SEE THE ATTACHMENT. DRAWING NO. AO1632S-12C25)
总长度51.4mm,圆管直径16mm,滑杆直径2mm。
(TOTAL LENGTH OF 51.4mm PIPE DIAMETER OF 16mm SLIDEBARDIAMETEROF 2mm )

4. 圆管电磁铁额定参数(RATED PARAMETER)
4-1 电压(VOLTAGE): DC12V
4-2 电流(CURRENT): 0.48A(at DC24V 20℃)
4-3 功率(WATTAGE): 5.76W
4-4 使用电压范围: DC12V±10%
4-5 直流电阻(DC RESISTANCE): 25Ω±10%(周围温度20℃)
4-6 工作循环(DUTY CYCLE): 50%通电。
4-7 绝缘等级(I NSULATION CLASS): A类(A CLASS)
广东深圳广州佛山中山东莞惠州圆管电磁铁:AO1632S-12C25 (2)
详细参数查询请登陆:http://www.yaxinsz.com/showdeteal/?id=473
备注:亚欣电器专业制造电磁铁、电磁阀、电磁泵、框架电磁铁、圆管电磁铁、吸盘电磁铁、保持电磁铁、摆动电磁铁、旋转电磁铁、深圳电磁铁、广东电磁铁、广州电磁铁、顺德电磁铁、中山电磁铁、东莞电磁铁等产品